- 小さい部品の規則の目的は何ですか。
- どの製品がこの規制を満たす必要がありますか?
- 小さな部分とは何ですか?
- 小型部品テスト治具
- メーカーは、3歳未満の子供がどのようなおもちゃやその他の製品を使用するかをどのように判断
- メーカーは、おもちゃや他の製品が3歳未満の子供が使用することを意図していると一般的に認識されているかどうかをどのように決定しますか?
- おもちゃや製品は小型部品規制から免除されていますか?
- 三歳未満の子供のためのおもちゃや製品は、小さな部品のためのどのようなテスト要件を満たす必要がありますか?
- 3歳未満の子供を小さな部品で窒息させることを目的とした他の要件はありますか?
- CPSCには、三歳未満の子供向けのすべての製品が満たさなければならないその他のガイドラインや規制がありますか?
- 三歳未満の子供のためのどの製品やおもちゃは、追加の規制を満たす必要がありますか?
- その他の基準は、三歳未満の子供が使用することを意図した製品に適用されますか?
- 追加情報はどこで入手できますか?
小さい部品の規則の目的は何ですか。
この規制は、3歳未満の子供の死亡および傷害が、「口」の可能性のある小さな物体を窒息、吸入、または嚥下することを防止します。 それは、3歳未満の子供が使用することを意図しており、小さな部品であるか、または小さな部品を持っている、または壊れたときに小さな部品を生
どの製品がこの規制を満たす必要がありますか?
この規則は、三歳未満の子供が使用することを目的とした製品を対象としています。 これらのプロダクトはplaypensのようなおもちゃのような記事の広い範囲を、人形および困惑、養樹園装置、幼児家具および装置、ベビーカーおよび赤ん坊の警備員 より詳細なリストについては、16C.F.R.Part1501.2を参照してください。
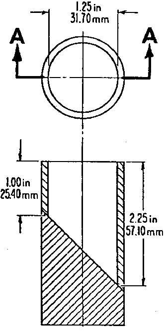
小さな部分とは何ですか?
小さな部分は、特別に設計されたテストシリンダーの長さ2.25インチ×幅1.25インチに完全に収まる任意のオブジェクトで、三歳未満の子供の完全に拡張された喉の大きさに近似しています。 (図を参照)。 16C.F.R.1501.4を参照してください。:
- おもちゃ全体または物品
- おもちゃ、ゲーム、またはその他の物品の別の部分
- 子供による使用または虐待をシミュレートする試験中に壊れたおもちゃまおもちゃや製品は、小さな部分が窒息の危険性を示すため禁止されています。

小型部品テスト治具
メーカーは、3歳未満の子供がどのようなおもちゃやその他の製品を使用するかをどのように判断
- ルールは、3歳未満の子供が使用することを意図している製品の種類の一般的な例をリストしています。 16C.F.R.1501.2(a)
- このルールでは、おもちゃが三歳未満の子供が使用することを意図しているかどうかを判断するために三つの要因を使用しています。; 特定の年齢の子供が使用することを意図している製品の広告、プロモーション、およびマーケティング、および製品または玩具が3歳未満の子供が使用す 16C.F.R.1501.2(b)を参照してください。)
メーカーは、おもちゃや他の製品が3歳未満の子供が使用することを意図していると一般的に認識されているかどうかをどのように決定しますか?
- CPSCの出版物”年齢分類のおもちゃのための製造業者の省略されたガイド:子供の年齢への一致のおもちゃの特徴。”それは一般的に認識されている使用のための子供の年齢に製品の特性を一致させるためにあなたを助けることができます。 コピーを入手するには、301-504-0800に電話するか、https://www.cpsc.govにアクセスしてください。
- この規制の遵守をテストするラボ、またはこの分野の専門知識を持つ他の人または企業によって、製品の年齢決定を要求します。
おもちゃや製品は小型部品規制から免除されていますか?
- はい。 紙製の風船、書籍およびその他の物品、蓄音機レコード、クレヨン、チョーク、鉛筆およびペンなどの筆記具、粘土および類似製品のモデリング、指の塗料、水彩画およびその他の塗料セットは、使用および乱用試験を受けたときに小さな部品に壊れるのを防ぐ方法で製造することができないため、免除されています。 靴のレースのホールダーおよびボタンのような子供の衣類そして付属品、およびおむつのピンおよびクリップ、バレッタ、歯ブラシ、飲むガラス、皿および食 16C.F.R.パート1501.3&4(b)を参照してください。
- ガラガラとおしゃぶりは、独自の小さな部品要件の対象となります。 16C.F.R.1510.3および1511.4(d)を参照してください。
- 三歳未満の子供が使用することを意図した製品は、製品が規制から特に免除されている項目のいずれかでない限り、小型部品規則の要件を満たさなけ
三歳未満の子供のためのおもちゃや製品は、小さな部品のためのどのようなテスト要件を満たす必要がありますか?
これらの玩具および製品は、衝撃、たわみ、トルク、張力および圧縮試験の後、小さな部品シリンダーに完全に収まる部分を解放してはなりません。 これらのテストはおもちゃおよびプロダクトが3の下の子供によって正常な使用および乱用の間に経験できる力を模倣します。 これらの力により部品がシリンダーで合うことを断ち切らせればそれらの部品は3以下の子供に窒息、抱負または摂取の危険を示します。
16C.F.R.1500.51には、0-18ヶ月の子供による使用と虐待をシミュレートする試験手順と力が含まれています。 16C.F.R.1500.52は子供による使用そして乱用を模倣する力および試験手順を18-36か月年齢含んでいる。
3歳未満の子供を小さな部品で窒息させることを目的とした他の要件はありますか?
はい。 製造された小さな部品であるか含まれており、3歳から6歳までの子供が使用することを意図しているおもちゃやゲームは、3歳未満の子供のために購入しないように警告するためにラベル付けされなければなりません。 ビー玉、小さなボール、風船も同様の警告が必要です。 参照16C.F.R.1500.19
CPSCには、三歳未満の子供向けのすべての製品が満たさなければならないその他のガイドラインや規制がありますか?
はい。 おもちゃおよび子供の製品は、危険な鋭い点(16C.F.R.1500.48)またはエッジ(16C.F.R1500.49)を持っていてはならず、塗料またはそれ以上を含む他の同様の表面コーテ009%鉛(16C.F.R.Part1303)、その他の危険化学物質が含まれている(16C.F.R.1500.3(a)(15))、または可燃性限界を超えている(16C.F.R.1500.44)。
三歳未満の子供のためのどの製品やおもちゃは、追加の規制を満たす必要がありますか?
おしゃぶり-16C.F.R.1511
ガラガラ-16C.F.R.1510
ベビーベッド-16C.F.R. 1508,1509
幼児枕、クッション-16C.F.R.1500.18(a)(16)
赤ん坊の歩行者、警備員、ジャンパー-16C.F.R.1500.18(a)(6)
電動玩具-16C.F.R.1505
人形、ぬいぐるみ、裂傷や穿刺の原因となるその他の製品。 -16-1500.18()(1), (2), (3)
小さなボール-16C.F.R.1500.18(a)(17)
その他の基準は、三歳未満の子供が使用することを意図した製品に適用されますか?
米国試験材料協会(ASTM)は、必須基準を補完する自主的な業界標準の開発を調整する組織です。 玩具の安全性に関する標準的な消費者安全仕様(ASTM F-963)および特定の子供用製品をカバーするその他の自主規格のコピーを入手するには、American Society for Testing and Materials,100Barr Harbor Drive,West Conshohocken,PA19428-2959、電話(610)832-9585、Fax(610)832-9555、またはhttp://www.astm.orgにお問い合わせください。
追加情報はどこで入手できますか?
小型玩具部品および子供用製品の要件の詳細については、米国消費者製品安全委員会にお問い合わせください:
- コンプライアンス室(特定の執行照会のための):電子メール:[email protected];電話: (800) 638-2772
- 中小企業オンブズマン(CPSC規制を理解し、遵守するための一般的な支援のために):電子メール:迅速な対応を得るための最良の方法である私たちのお問い合
この通信は、一般的な情報提供のみを目的として準備されています。 この要約文書は、法的助言を構成するものではなく、また、CPSCによって施行されるすべての適用される法律、規制、基準、または禁止を遵守するための製造業者の義務を置き換えるものでもなく、またそれに取って代わるものでもありません。 この通信は、委員会によって検討または承認されておらず、必ずしも彼らの見解を表すものではありません。 この通信で表明された見解は、委員会によって変更されるか、または置き換えられる可能性があります。